Машина для измельчения мяса МИМ-80 ТоргМаш (Беларусь)

| Технические характеристики | ||
| Производительность, кг/ч, не менее | 80 | |
| Производительность при повторном измельчении котлетной массы, кг/ч, не менее | 26 | |
| Номинальная потребляемая мощность, кВт | 0,81 | |
| Питающая электросеть: — род тока — номинальное напряжение, В — частота тока, Гц |
однофазный переменный 220 50 |
|
| Частота вращения шнека, об/мин |
187 | |
| Габаритные размеры, мм не более: — длина — ширина — высота |
500 300 570 |
|
| Масса, кг, не более | 27 | |
| Примечание: производительность мясорубок указана при измельчении говяжьего мяса |
||
| Параметры решеток | ||
| Номер решетки | 2 | 3 |
| Наружный диаметр, мм | 60 | 60 |
| Диаметр отверстий, мм | 5 | 9 |
| Количество отверстий | 42 | 12 |
Подробное описание
Мясорубки МИМ-80 предназначены для измельчения мяса и рыбы на фарш, повторного измельчения котлетной массы и набивки колбас на предприятиях общественного питания.
Мясорубки выпускаются в исполнении УЗ по ГОСТ
Мясорубки МИМ-80 производятся в соответствии с требованиями стандарта СТБ ИСО 9001:2001, имеют белорусский, украинский и российский сертификаты соответствия, Сертификат соответствия директивам Евросоюза — CE и Сертификат на знак безопасности B.
Машины выполнены в однофазном и трёхфазном исполнении для включения в сеть переменного тока.
Мясорубки оснащены функцией «Реверс», которая позволяет при наматывании жил освободить шнек без дополнительной разборки машин. Также установлен практически бесшумный червячный редуктор. Машины выпускаются с облицовкой из нержавеющей стали.
Установленный в мясорубках МИМ-80 червячный редуктор обеспечивает бесшумную, плавную и равномерную работу машин, улучшает их эксплуатационные свойства и увеличивает продолжительность работы. В процессе работы машин отпадает необходимость в проведении регулировок, а потребность в выполнении текущего ремонта значительно уменьшается.
Устройство и работа мясорубки МИМ-80
Мясорубка состоит из собственно мясорубки, привода и съёмной чаши. Собственно мясорубка в сборе состоит из алюминиевого корпуса, в котором вращается шнек, зажимной гайки, двустороннего ножа, решетки, кольца упорного и ножа подрезного, облицовки из нержавеющей стали.
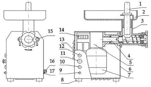
1-Толкач; 2-Чаша; 3-Собственно мясорубка. Привод: 4-Вал приводной; 5-Редуктор; 6-Облицовка; 7-Электродвигатель; 8-Амортизатор; 9-Светодиод "Сеть"; 10-Кнопка "Реверс"; 11-Кнопка "Стоп"; 12-Кнопка "Пуск"; 13-Облицовка задняя; 14-Блок зажима; 15-Зажим; 16-Кабельный ввод; 17-Зажим заземления.
На передней части корпуса собственно мясорубки имеется наружная резьба, на которую навинчивается гайка зажимная, а на задней части — фланец, которым корпус крепится к приводу. Крепление корпуса производится резьбовыми зажимами.
1-Шпонка; 2-Шнек; 3-Нож подрезной; 4-Нож двусторонний; 5-Решётка; 6-Кольцо упорное; 7-Гайка зажимная
Над загрузочным отверстием расположен несъёмный предохранитель, исключающий возможность попадания руки обслуживающего персонала к шнеку работающей мясорубки. На боковой стороне облицовки расположены кнопки «Пуск», «Стоп» и «Реверс».
Перерабатываемый продукт из чаши вручную подается к горловине корпуса мясорубки, а затем толкачом к вращающемуся шнеку. Увлекаемый шнеком продукт проходит последовательно через набор режущего инструмента.
Для получения фарша разной степени измельчения мясорубка снабжена набором ножевых решеток с отверстиями различных размеров. Решетка вставляется в корпус мясорубки и удерживается от проворачивания шпонкой.










